谱析检坛:有图有真相,几种气相色谱仪进样系统的结构和性能
一、填充柱进样系统
1常压气体进样:
医用注射器(100μL~5mL)进样:简单、灵活,但误差大,偏差在5%左右。
六通阀定体积进样:操作方便、进样迅速、结果准确、偏差较小,只有0.5%。
六通阀工作原理:结构如图
六通阀处于取样位置时,载气经1,2两通道直接进入色谱柱,无样品进入色谱仪,气体样品经通道5流入接在通道3,6上的定量管7中,经通道4流出,使定量管充满样品。
把六通阀从取样位置旋转60°后到进样位置,载气经1,6通道和定量管8相连,把定量管中的样品经3,2两通道带到色谱柱中,定量管的体积可根据需要进行调解。
2液体进样:
液体进样一般是通过汽化室把溶剂和样品转化为蒸汽进入色谱柱中,液体进样系统有多种多样,下图是一种典型的填充色谱用汽化室。
为了提高柱效常用柱头进样系统,即把色谱柱一端插入汽化室中,注射器直接把样品注射到填充柱顶部,如下图所示。
二、填充柱和毛细管均可使用的进样系统
1顶空进样分析(head space analysis)
一些样品中既含有挥发性组分又含有不挥发组分,如油漆、食品、塑料等,常可用这种方式进样分析其中可挥发的组分,顶空进样可以用最简单的静态手工方式,也可以用吹扫-捕集动态顶空自动进样方式。简单的静态手工进样瓶如下图所示。
而吹扫-捕集顶空进样见下图,目前HP公司和PE公司都有专门用于顶空进样的微机控制的自动顶空进样设备(PE公司是HS-100型和HS-40型,HP公司是HP19396A型)。
2裂解进样器(pyrolyzer)
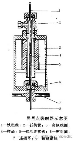
裂解进样器是进行裂解气相色谱的进样设备,在利用气相色谱分析不挥发的大分子和高聚物时就要用这种进样器,目前使用较多的裂解器有:管式炉裂解器、热丝(带)裂解器、居里点裂解器和激光裂解器。这些裂解器的功能都是使大分子或高分子化合物裂解为低分子可挥发的化合物,能用气相色谱仪进行分析。这四种裂解器的结构见下图。
日本拓植新研究的立式管炉裂解器
美国CDS公司的热丝(带)裂解器,这是国外应用很广泛的一种裂解器,90年代有1000型和2000型的新产品,温度可达1400℃。
感应加热型居里点裂解器,根据所用感应材料形状的不同有丝式和片式居里点裂解器之分。
激光裂解器的示意图,我国四川仪表九厂有此产品。
3毛细管柱进样系统
毛细管气相色谱仪的进展和进样系统的不断改进有很大的关系,近几年来进样系统得到很大进步,其目的主要是解决进样的歧视现象,以提高分析的精密度和准确度。
a分流进样系统
分流进样器的示意图如下,经预热的载气分两路,一路向上冲洗注射隔膜;另一路以较快的速度进入气化室,此处使样品与载气混合,并在毛细管柱入口处进行分流。常规毛细管柱分流比一般为1:50~1:500;对大内径厚液膜毛细管柱一般为1:5~1:50。
b不分流进样系统
与分流进样系统不同之处在于分流管和分流阀之间有一个缓冲空间。在进样时分流电磁阀关闭。经过一段时间(一般为30~90s)大部分溶剂和溶质进入色谱柱,电磁阀打开,把气化室中剩余溶剂和溶质通过分流阀吹走。
c柱头进样系统
Grob在1978年设计的一种用注射器进样的柱头进样器,可用于毛细管内径小于或等于0.3mm情况下的柱头进样,使用的注射器外径=0.23mm,内径=0.1mm,长度=85mm。
程序升温柱头进样器
d毛细管柱的直接进样系统
由于1983年大内径(0.53mm I.D.)毛细管柱的广泛应用使得毛细管柱的直接进样系统得到发展,用0.53mm I.D.的毛细管无论是高效模式分离(载气流速2~5mL/min)还是低效快速模式分离(载气流速5~20mL/min),作为填充柱气相色谱的等同体,都可以十分容易的在填充柱气相色谱仪上进行。














